Qingdao Ruichen Afdichting Technologie Co., Ltd.
Qingdao Ruichen Afdichting Technologie Co., Ltd.
Producten
X

Ruitenwisserring

De stofafdichting met dubbele lip, gelanceerd door Ruichen Seal (een bekende fabrikant en leverancier van zuigerstangafdichtingen in China) bestaat uit een gevulde PTFE-afdichtring en een O-ring. Het heeft tweerichtingsstofbescherming en automatische slijtagecompensatiefuncties, lage wrijving, lange levensduur en sterk aanpassingsvermogen, en wordt veel gebruikt in verschillende industriële bewegingsscenario's zoals heen en weer bewegend, zwaaiend en spiraalvormig.

Prestaties en toepassingen

De dubbellip-combinatie-afstrijkerafdichting is een bidirectionele afstrijkerafdichting bestaande uit een PTFE-gevulde dubbellip-afstrijkerring en een O-ring. De O-ring zorgt voor voorspanning en compenseert de slijtage van de PTFE-ring. Het is geschikt voor heen en weer gaande, oscillerende of spiraalvormige bewegingen.


Bedrijfsomstandigheden

Druk MPa

Temperatuur °C

Snelheid m/s

Medium

-

-35~+100 (bijpassende O-ring NBR)

6

Hydraulische olie, emulsie, water, etc.

-20~+200 (bijpassende O-ring FKM)


Bestelvoorbeeld

Bestel model RCF02-80-PTFE3-R01

RCF02 - Model 80 - Asdiameter PTFE3 - Gemodificeerde PTFE RO1 voor algemeen gebruik - Bijpassende rubbermateriaalcode

Nitril (NBR) - R01, Fluorkoolstof (FKM) - RO2

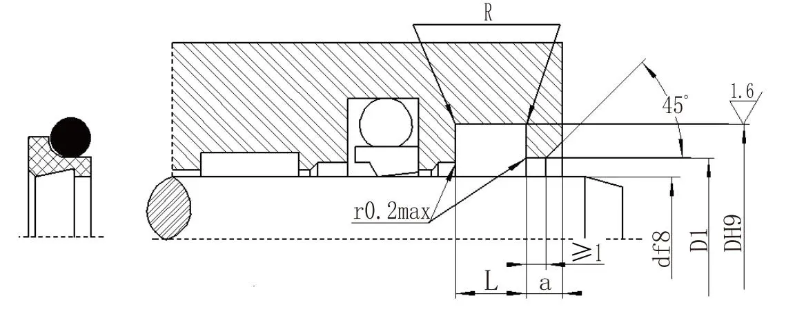
Specificatieparametertabel (producten van elke grootte binnen het parameterbereik kunnen worden geleverd)

Asdiameterbereik d f8

Groefdiameter DH9

Groef breedte L+0.2

Diameter open gat

D1H11

Breedte open gat een≥

Afgeronde hoeken R≤

Draaddiameter O-ring

d0

4~11

d+4,8

3.7

d+1,5

2

0.4

1.80

12~64

d+6,8

5.0

d+1,5

2

0.7

2.65

65~250

d+8,8

6.0

d+1,5

3

1.0

3.55

251~420

d+12,2

8.4

d+2,0

4

1.5

5.30

421~650

d+16,0

11.0

d+2,0

4

1.5

7.00

651 ~ 1500

d+20,0

14.0

d+2,5

5

2.0

8.60


Hottags: Ruitenwisserring
Stuur onderzoek
Contact informatie
Krijg concurrerende prijzen, technische ondersteuning en snelle antwoorden. Stuur uw specificaties naar Ruichen voor op maat gemaakte afdichtingsoplossingen. Gratis monsters beschikbaar.
X
We gebruiken cookies om u een betere browse-ervaring te bieden, het siteverkeer te analyseren en de inhoud te personaliseren. Door deze site te gebruiken, gaat u akkoord met ons gebruik van cookies. Privacybeleid
Afwijzen Accepteren