Qingdao Ruichen Afdichting Technologie Co., Ltd.
Qingdao Ruichen Afdichting Technologie Co., Ltd.
Producten
X

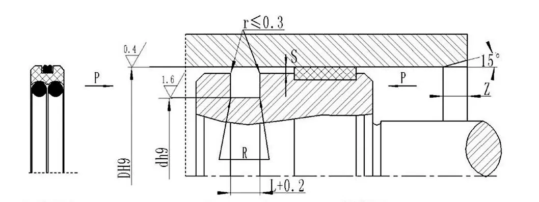
AQF-type PTFE-samengestelde afdichting

Als fabrikant uit China heeft Ruichen Seals het vermogen om te ontwikkelen en te innoveren. De door Ruichen Seals gelanceerde AQF Type PTFE Compound Seal maakt gebruik van een combinatie van PTFE-afdichtingsringen met lage wrijving en oliebestendige elastomeren. Het heeft een compact uiterlijk en een sterk aanpassingsvermogen, en is speciaal geschikt voor hydraulische systemen in voedselmachines, medische apparatuur en schone omgevingen.

AQF Type PTFE Compound Seal biedt een verscheidenheid aan NBR/FKM-elastomeren en PTFE1-PTFE4 afdichtringopties. Het is anti-vervuilings- en corrosiebestendig en ondersteunt maatwerk en bulkgroothandel.


Toepasselijke arbeidsvoorwaarden

Druk MPa

Temperatuur ℃

Snelheid m/s

Medium

≤60

-35~+100 (NBR)

≤3

Hydraulische olie, emulsie, water, gas, enz.

-20~+200 (FKM)


Materiaalkeuze

1. Beschikbare elastomeermaterialen: R01 nitrilrubber (NBR), RO2 fluorrubber (FKM), enz.

2. Materiaal afdichtring: Standaardmateriaal: PTFE3; andere beschikbare materialen: PTFE1, PTFE2 en PTFE4.



Hottags: AQF-type PTFE-samengestelde afdichting
Stuur onderzoek
Contact informatie
Krijg concurrerende prijzen, technische ondersteuning en snelle antwoorden. Stuur uw specificaties naar Ruichen voor op maat gemaakte afdichtingsoplossingen. Gratis monsters beschikbaar.
X
We gebruiken cookies om u een betere browse-ervaring te bieden, het siteverkeer te analyseren en de inhoud te personaliseren. Door deze site te gebruiken, gaat u akkoord met ons gebruik van cookies. Privacybeleid
Afwijzen Accepteren