|
Druk/MPa |
Temperatuur / °C |
Snelheid /m/s |
Medium |
|
≤40 |
-35~+100 (met bijpassende NBR O-ringen) |
≤2 |
Hydraulische olie, emulsie, water, gas, enz. |
-20~+200 (met bijpassende O-ringen FKM) |
1. Geschikte O-ringmaterialen zijn onder meer: R01 nitrilbutadieenrubber (NBR), R02 fluorrubber (FKM), enz.
2. Materialen afdichtring: standaardmaterialen PTFE3 en PTFE4; andere optionele materialen zijn onder meer PTFE1, PTFE2 en PTFE5.
Ruichen heeft vanaf het begin van grondstoffen onafhankelijk onderzoek en ontwikkeling en productie uitgevoerd, waardoor de controle over de hele productketen werd gerealiseerd.
1. Technische kunststoffen en composietmaterialen: we nemen polytetrafluorethyleen (PTFE) als de kern, van mengen, sinteren tot gieten, onafhankelijke productie van allerlei soorten gevulde buizen en staven van gemodificeerd composietmateriaal, en vervolgens precisieverwerking tot afdichtingen. Dit zorgt voor stabiliteit en aanpasbaarheid van materiaaleigenschappen.
2. Hoogwaardig polyurethaanelastomeer: we beginnen met het gieten van prepolymeer, produceren onafhankelijk hoogwaardige polyurethaan buis- en staafmaterialen en verwerken deze tot verschillende soorten afdichtingen, die uitstekend zijn wat betreft slijtvastheid, drukweerstand en hydrolyseweerstand.
Bestelvoorbeeld
Bestelmodel RC2054—80×69×4,2—PTFE3—R01 Model-D*d*L- Materiaalcode Bestelmodel RCX18—80×69x4,2—HPU Model-D*d*L- Materiaalcode
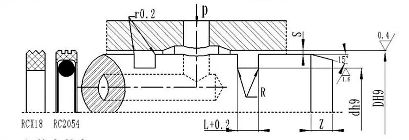
Specificaties en parametertabel (elke specificatie binnen het parameterbereik is beschikbaar)
|
Diafragma bereik DH9 |
Diameter van de sleuf dh9 |
Geulbreedte L+0,2 |
Radiale speling Smax |
Afgeronde hoeken Rmax |
Afschuining Zmin |
|
|
0~10 MPa |
10~20 MPa |
|||||
|
8~39 |
D-4.9 |
2.2 |
0.15 |
0.1 |
0.4 |
2 |
|
40~79 |
D-7,5 |
3.2 |
0.2 |
0.15 |
0.6 |
3 |
|
80~132 |
D-11.0 |
4.2 |
0.25 |
0.2 |
1.0 |
4 |
|
133~329 |
D-15,5 |
6.3 |
0.3 |
0.25 |
1.3 |
5 |
|
330~669 |
D-21.0 |
8.1 |
0.3 |
0.25 |
1.8 |
7 |
|
670 ~ 1500 |
D-28.0 |
9.5 |
0.45 |
0.3 |
2.0 |
8 |
|
D |
d |
L |
D |
d |
L |
D |
d |
L |
D |
d |
L |
|
8 |
3.1 |
2.2 |
50 |
42.5 |
3.2 |
170 |
154.5 |
6.3 |
380 |
359.0 |
8.1 |
|
10 |
5.1 |
2.2 |
55 |
47.5 |
3.2 |
180 |
164.5 |
6.3 |
390 |
369.0 |
8.1 |
|
12 |
7.1 |
2.2 |
60 |
52.5 |
3.2 |
190 |
174.5 |
6.3 |
400 |
379.0 |
8.1 |
|
14 |
9.1 |
2.2 |
63 |
55.5 |
3.2 |
200 |
184.5 |
6.3 |
420 |
399.0 |
8.1 |
|
15 |
10.1 |
2.2 |
65 |
57.5 |
3.2 |
210 |
194.5 |
6.3 |
450 |
429.0 |
8.1 |
|
16 |
11.1 |
2.2 |
70 |
62.5 |
3.2 |
220 |
204.5 |
6.3 |
480 |
459.0 |
8.1 |
|
18 |
13.1 |
2.2 |
75 |
67.5 |
3.2 |
230 |
214.5 |
6.3 |
500 |
479.0 |
8.1 |
|
20 |
15.1 |
2.2 |
80 |
69.0 |
4.2 |
240 |
224.5 |
6.3 |
520 |
499.0 |
8.1 |
|
22 |
17.1 |
2.2 |
85 |
74.0 |
4.2 |
250 |
234.5 |
6.3 |
550 |
529.0 |
8.1 |
|
24 |
19.1 |
2.2 |
90 |
79.0 |
4.2 |
260 |
244.5 |
6.3 |
600 |
579.0 |
8.1 |
|
25 |
20.1 |
2.2 |
95 |
84.0 |
4.2 |
270 |
254.5 |
6.3 |
630 |
609.0 |
8.1 |
|
28 |
23.1 |
2.2 |
100 |
89.0 |
4.2 |
280 |
264.5 |
6.3 |
650 |
629.0 |
8.1 |
|
30 |
25.1 |
2.2 |
105 |
94.0 |
4.2 |
290 |
274.5 |
6.3 |
670 |
642.0 |
9.5 |
|
32 |
27.1 |
2.2 |
110 |
99.0 |
4.2 |
300 |
284.5 |
6.3 |
700 |
672.0 |
9.5 |
|
35 |
30.1 |
2.2 |
115 |
104.0 |
4.2 |
310 |
294.5 |
6.3 |
750 |
722.0 |
9.5 |
|
36 |
31.1 |
2.2 |
120 |
109.0 |
4.2 |
320 |
304.5 |
6.3 |
800 |
772.0 |
9.5 |
|
38 |
33.1 |
2.2 |
125 |
114.0 |
4.2 |
330 |
309.0 |
8.1 |
1000 |
972.0 |
9.5 |
|
40 |
32.5 |
3.2 |
130 |
119.0 |
4.2 |
340 |
319.0 |
8.1 |
|
|
|
|
42 |
34.5 |
3.2 |
140 |
124.5 |
6.3 |
350 |
329.0 |
8.1 |
|
|
|
|
45 |
37.5 |
3.2 |
150 |
134.5 |
6.3 |
360 |
339.0 |
8.1 |
|
|
|
|
48 |
40.5 |
3.2 |
160 |
144.5 |
6.3 |
370 |
349.0 |
8.1 |
|
|
|
Let op: Vereiste specificaties staan hier niet vermeld; neem dan contact op met ons bedrijf. Wij bieden producten aan met een maximale diameter van 2800 mm.



Adres
No.1 Ruichen Road, Dongliuting Industrial Park, Chengyang District, Qingdao City, provincie Shandong, China
Tel
E-mailen