De basishydraulische afdichtingen van Ruichen Seals omvatten voornamelijk verschillende soorten afdichtingen, elk met zijn eigen voordelen. O-ringen worden op grote schaal gebruikt in verschillende dynamische en statische afdichtingsgroepen vanwege hun lage productiekosten en handig gebruik. De meeste landen hebben een reeks productnormen voor O-ringen geformuleerd, waaronder de Amerikaanse standaard (AS568), de Japanse standaard (JISB2401) en de International Standard (ISO 3601/1) vaker voorkomen. De nationale normen zijn GB3452.1 en GB1235.
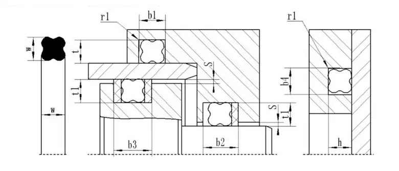
De stervormige afdichtingsring is een afdichting van vier lippen met een X-vormige vorm, dus het wordt ook een X-vormige ring genoemd. Het is een verbetering en verbetering op basis van de O-ring. De dwarsdoorsnedeafmetingen zijn hetzelfde als de O-ring van de VS als 568A-standaard, en het kan in principe het gebruik van de O-ring vervangen.
Voordelen van sterrenringen
Vergeleken met O-ringen hebben sterrenringen minder wrijvingsweerstand en minder startweerstand omdat ze een smeerholte vormen tussen de afdichtlippen. Omdat de flitsrand zich in het concave deel van de dwarsdoorsnede bevindt, is het afdichtingseffect beter. De niet-cirkelvormige dwarsdoorsnede vermijdt effectief het rollende fenomeen tijdens heen en weer bewegende beweging.
Star Ring Working mechanisme
De sterring is een zelfbestendig dubbelwerkend afdichtingselement. De radiale en axiale krachten zijn afhankelijk van de druk van het systeem. Naarmate de druk stijgt, zal de compressie -vervorming van de sterring toenemen en zal de totale afdichtkracht toenemen, waardoor een betrouwbare afdichting wordt gevormd.
Hoe u een stervormige afdichtring kiest
Als de diameter van de as en het gat bekend is, selecteert u de juiste stervormige afdichtring volgens de volgende criteria:
1. Statische afdichting of heen en weer bewegende lineaire beweging: (1) Hole afdichting: de binnendiameter van de stervormige ring moet compatibel zijn met de groef, of minder dan ongeveer 2% van de onderste diameter van de groef. Omdat de pre-compressiekracht gegenereerd door pre-compressie effectief kan voorkomen dat de stervormige afdichtring draait en rolt. (2) Asafdichting: de binnendiameter van de stervormige ring moet gelijk zijn aan of passend groter dan de buitenste diameter van de as met ongeveer 0,2 ~ 0,3 mm, of deze kan ongeveer 1% groter zijn dan de buitendiameter van de as. Als gevolg hiervan is de afdichtring gemakkelijker te installeren en heeft een langere levensduur.
2. Roterende afdichting: de binnendiameter van de stervormige ring moet ongeveer 2 ~ 5% groter zijn dan de diameter van de as die deze afdicht. Omdat de afdichtingsring wrijving en warmte genereert wanneer het wordt gebruikt in een roterende beweging en het rubber krimpt wanneer het wordt verwarmd (joule -effect). Om ervoor te zorgen dat de afdichtring kan worden gesmeerd en betrouwbaar kan worden gesmeerd, moet een stervormige ring met een binnendiameter groter zijn dan de schachtdiameter worden geselecteerd. Gewoonlijk kan een afdichtring met een kleinere dwarsdoorsnede voldoen aan de behoeften van statische afdichting. Integendeel, een afdichtring met een grotere dwarsdoorsnede moet worden geselecteerd om aan de dynamische afdichting te voldoen. In het geval van hoge druk of grote openingen moet een rubberen materiaal met een hogere hardheid worden geselecteerd. De beste manier is om een PTFE -borgring toe te voegen om extrusieschade met hoge druk te voorkomen.
De gecoate O-ring combineert organisch de elasticiteit en afdichting van rubber met de chemische weerstand van teflon. Het is samengesteld uit een binnenste kern van siliconen of fluororubber en een relatief dunne teflon FEP of Teflon PFA buitenste coating.
Materiaal: Teflon FEP en Teflon PFA zijn in wezen vergelijkbaar, maar Teflon PFA heeft een betere weerstand van hoge temperatuur dan Teflon FEP. Toepasselijk temperatuurbereik teflon fep shell: -60 ℃ ~ 205 ℃ kan worden gebruikt bij 260 ℃ voor een korte tijd teflon pfa shell: -60 ℃ ~ 260 ℃ kan worden gebruikt bij 300 ℃ voor een korte tijd voordelen:
1. Uitstekende chemische weerstand, geschikt voor bijna alle chemische media
2. breed temperatuurbereik
3. Goede compressiebestendigheid
4. Anti-fictie
5. Goede anti-zwelling
6. Hoge drukweerstand
7. Uitstekende afdichtbaarheid en lange levensduur
Toepassing: pompen en kleppen, reactievaten, mechanische afdichtingen, filters, drukvaten, warmtewisselaars, ketels, pijpleidingflenzen, gascompressoren, enz.
Toepassingsindustrie: chemische industrie, vliegtuigproductie, farmaceutische industrie, olie- en chemisch transport en raffinage, filmindustrie, koeltechniek, voedselverwerkende industrie, papierindustrie, kleurstofproductie, verfspuiten, enz.
Installatie -instructies voor afdichtringen
1. De onderdelen waar de afdichtringen worden geïnstalleerd of doorgegeven, moeten glad zijn, vrij van bramen, groeven en scherpe hoeken. De ruwheid van het binnengat moet 1,6μ bereiken en de ruwheid van de as moet 0,8UM bereiken.
2. Breng schone lichtolie of vet aan om het oppervlak van de afdichtring en de relevante onderdelen in contact te smeren.
3. Als het moeilijk is om de afdichtring op de as te installeren, dompel deze dan enkele minuten in heet water om deze uit te breiden. Deze verzachtte en uitgebreide O-ring is gemakkelijker te installeren. Installeer de O-ring wanneer deze heet is en de grootte keert terug naar zijn oorspronkelijke maat na het afkoelen.
4. Buig de O-ring niet te gewelddadig, anders zal deze rimpels in de teflon veroorzaken en het gebruik ervan beïnvloeden.
De aanbevolen compressie van de gecoate O-ring is als volgt:
Statische verzegelingstoestand: 15%-20%
Dynamische afdichtingstoestand: 10%-12%
Pneumatische staat: 7%-8%
De werkelijke compressie moet rekening houden met de werkomstandigheden, met name de afdichtingswerkdruk en andere factoren.
Productfuncties en toepassingen:
| O-ring prestatieparameter tabel |
|
|
|
|
Statische afdichting | Dynamische afdichting |
| Werkdruk | Zonder ring te behouden, 20MPa max Met vaste ring, 40 MPa max, speciale beursring 200 mpa max max | Zonder ring te behouden, 5MPa max Met vaste ring, hogere druk |
| Snelheid | Bewuqueren van 0,5 m/s Max, Roterende 2m/s Max | |
| Temperatuur | Algemeen gebruik: -30 ~+110, speciaal rubber: -60 ~+250, roterend: -30 ~+80 | |
| Medium | Zie materiaalgedeelte | |
| Standaard | O-ring dwarsdiameter W |
|
|||||
| Amerikaanse standaard als 568 Britse standaard BS 1516 | 1.78 | 2.62 | 3.52 | 5.33 | 6.99 | - | |
| Japanse standaard IT B2401 | 1.9 | 2.4 | 3.1 | 3.5 | 5.7 | 8.4 | |
| Internationale standaard ISO 3601/1 Duitse standaard DIN 3771/1 Chinese standaard CB 3452.1 | 1.8 | 2.65 | 3.55 | 5.30 | 7.00 | - | |
| Voorkeursspatrische maten | 1.0 | 1.5 | 2.0 | 2.5 | 3.0 | 3.5 | |
| 4.0 | 4.5 | 5.0 | 5.5 | 6.0 | 7.0 | ||
| 8.0 | 10.0 | 12.0 |
|
|
|
||
| Amerikaanse standaard als 568 (900 -serie) | 1.02 | 1.42 | 1.63 | 1.83 | 1.98 | 2.08 | |
| 2.21 | 2.46 | 2.95 | 3.00 |
|
|
|
|
| Het applicatiebereik van sterrenringen is erg breed. Kies het juiste materiaal volgens de temperatuur, druk en medium. Om de sterring aan een bepaalde toepassing aan te passen, moeten de wederzijdse beperkingen tussen alle werkparameters worden overwogen. Bij het bepalen van het toepassingsbereik moet de piektemperatuur, continue werktemperatuur en bedrijfscyclus worden overwogen. Bij roterende toepassingen moet ook de temperatuurstijging veroorzaakt door wrijvingswarmte worden overwogen. | |||||
| Technische parameters | Dynamische afdichting | Statische afdichting |
|
||
| Beantwoordelijke beweging | Rotatiebeweging |
|
|||
| Werkdruk (MPA) | Met vaste ring | 30 | 15 | 40 |
|
| Zonder ring te behouden | 5 | - | 5 |
|
|
| Snelheid (m/s) | 0.5 | 2.0 | - |
|
|
| Temperatuur (℃) | Algemene gelegenheden: -30 ℃ ~+110 ℃ |
|
|||
| Speciale materialen: -60 ℃ ~+200 ℃ |
|
||||
| Rotatie -gelegenheden: -30 ℃ ~+80 ℃ |
|
||||
Star Ring Materiaal:
Het materiaal is over het algemeen Shaw A70 Nitril Rubber NBR.
Gecoate o-ring:
Schematisch diagram van de groef van de ingekapselde O-ring
Dimensietabel van de groef van de ingekapselde O-ring (aanbevolen)
| Draaddiameter D | A (mm) | B (mm) | ||
| Statische afdichting | Dynamische afdichting | Pneumatische afdichting | ||
| 1.78 | 2.36/2.49 | 1.42/1.52 | 1.55/1.60 | 1.63/1.65 |
| 2.62 | 3.56/3.68 | 2.08/2.21 | 2.29/2.36 | 2.39/2.44 |
| 3.53 | 4.75/4.88 | 2.82/3,00 | 3.10/3.18 | 3.22/3.28 |
| 5.33 | 7.14/7.26 | 4.27/4.52 | 4.67/4.80 | 4.90/4.95 |
| 6.99 | 9.63/9.65 | 5.59/5.89 | 6.15/6.27 | 6.43/6.48 |
RUICHEN SEAL PTFE SEAL -installatiehandleiding
Ⅰ. Installatiehandleiding
1. De afdichting moet worden geïnstalleerd aan de vooraf geladen zijde, tegenover de drukrichting.
2. De cilinderlichaam en zuigerstang moeten worden gemaakt met push-in-kamers die voldoen aan de vereisten van de monsters van ons bedrijf.
3. Scherpe randen moeten vrij zijn van bramen en afgerond of afsluiten.
4. Draden, ringgroeven, etc. moeten worden bedekt, omdat de afdichting niet door groeven, geboorde gaten of ruwe oppervlakken kan worden geduwd.
5. Alle stof, puin of andere vreemde deeltjes moeten zorgvuldig worden verwijderd.
6. Gereedschap met scherpe randen mogen niet worden gebruikt.
7. PTFE afdichtringen zijn gemakkelijker uit te breiden in verwarmde olie of water (ongeveer 80 ~ 120 graden) en zijn gemakkelijk te herstellen in hun oorspronkelijke vorm.
8. Als de lip van de afdichting door het oliedrukgat moet gaan, moet een plastic stick worden gebruikt om de lip voorzichtig te duwen om te voorkomen dat de afschuining van het gat de afdichtlip beschadigt. De gaten van de cilinder moeten worden afgeschuind. (Figuur 3)
Ⅱ. Installatiemethode
Open (gesplitste) groeven kunnen zonder gereedschap worden geïnstalleerd.
Installatie van gesloten groefzuigerstangafdichtingen (Afbeelding 1)
1. Schoon en olie alle afdichtingssubstraten, afdichtingen en installatiehulpmiddelen.
2. Plaats de rubberen ring in de groef (wees voorzichtig om het niet te draaien).
3. Comprimeer de PTFE -afdichtingsring in een niervorm zonder een puntige bocht te vormen, plaats de gecomprimeerde PTFE -afdichtring in de groef en maak deze zachtjes met de hand af.
4. Duw de herstel doorn naar het zegel en draai de doorn zachtjes. Laat het 1 minuut achter en verwijder de doorn. Installatie is voltooid.
Installatie van zuigerafdichtingen in gesloten groeven (figuur 2)
1. Schoon en olie alle afdichtingssubstraten, afdichtingen en installatiehulpmiddelen.
2. Plaats de rubberen ring in de groef (wees voorzichtig om het niet te draaien).
3. Duw de PTFE -afdichtring op de mouw van de geleider en rek de afdichtring uit.
4. Duw de uitgerekte afdichtring in de zuigergroef.
5. Duw de correctiehuls naar de afdichtring en draai tegelijkertijd de correctiemouw. Verwijder de correctiehuls na het verlaten van 1 minuut en de installatie is voltooid.
OPMERKING: 1. Raadpleeg ons bedrijf als het in de steekproef van ons bedrijf niet in een gesloten groove kan worden geïnstalleerd, maar niet geschikt is voor een open groove.
2. De bovenstaande installatie van PTFE -afdichtingen is niet van toepassing op alle PTFE -afdichtingen. Raadpleeg ons bedrijf indien nodig.



























Adres
No.1 Ruichen Road, Dongliuting Industrial Park, Chengyang District, Qingdao City, provincie Shandong, China
Tel
E-mailen